- تصفح الفئات..
- RKS صمام فراشة
- RKS بوابة الممر
- RKS CHECK VALVE
- RKS صمام الإبرة
- صرف التحكم في rks.
- RKS Air Feedy Valve
- RKS صمام الكرة
- RKS تركيب الأنابيب
- RKS GLOBE VALVE
- مشغل RKS
- مرشح RKS
- قاذفة الخنازير والمستقبل
- روكس الألياف الألياف الزجاجية
- المنتج الرئيسي
- اتصل بنا
-
شركة RKSfluid للتحكم في التدفق
موقع الويب: http://www.rksfluid.com
هاتف: 86 24 2318 0188
فاكس: 86 24 2318 0788
البريد: info@rksfluid.com اتصل الآن
- الإشتراك
-
احصل على تحديثات البريد الإلكتروني على المنتجات الجديدة
RKSfluid قاذفة الخنازير المخصصة والمستقبل مع إغلاق فتح سريع
- حجم الأنبوب : 4 "إلى 60"
- تصنيفات الضغط : 150# –600# (قياسي) ، تقييمات أعلى قابلة للتخصيص
- التكوين : التثبيت الأفقي أو العمودي أو المائل
- المواد : الصلب الكربوني ، الفولاذ المقاوم للصدأ ، سبيكة الصلب
- معايير التصميم : ASME B31.4/B31.8 ، API ، PED
- التطبيقات : مناسبة لعمليات البرية والبحرية والمياه العميقة
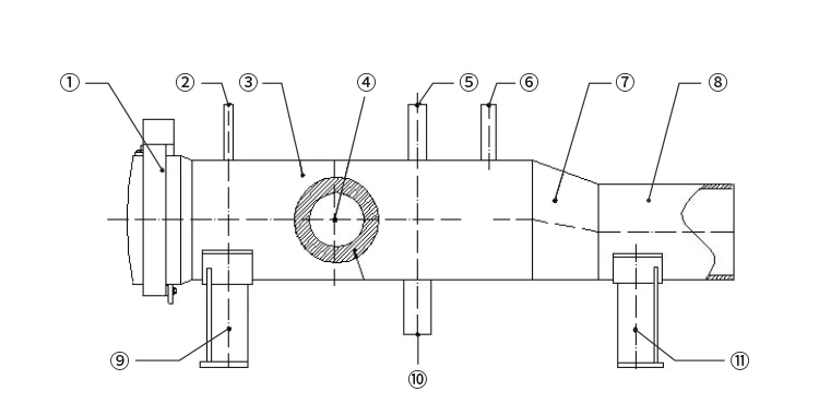
| يعد قاذفة الخنازير وجهاز الاستقبال مكونًا أساسيًا في أنظمة خطوط الأنابيب لمسافات طويلة ، مصممة لإطلاق خنازير خطوط الأنابيب وتلقيها بأمان دون مقاطعة التدفق. يستخدم هذا النظام على نطاق واسع في أنظمة خطوط الأنابيب للمعالجة النفطية والغاز والمياه. مع بنية معيارية وتآكل قوي ومقاومة للضغط ، يمكن تخصيصه لمتطلبات خط الأنابيب المختلفة. |
|
الميزة الرئيسية: 1. إن إطلاق الخنازير السريع وتلقيه يقلل من التوقف ويحسن كفاءة خط الأنابيب |
| (1) إغلاق الفتح السري (6) فوهة صمام التهوية (7) مخفض (8) أسطوانة فرعية (9) دعم السرج الأمامي (10) فوهة صمام التفجير (11) داعمة السرج الخلفية |
|
|
بطاقة شعار:
RKSfluid شركة مراقبة التدفق ، المحدودة.
أمن:+86 151 4027 2439
الشخص الذي يمكن الاتصال به:دامون
PDF تظهر:بي دي إف

